Mission
Neurology Networks tries to offer broad exposure to various topics that may be presented on the veterinary neurology board exam.
CT anatomy 13
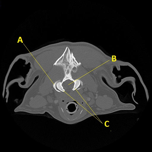
Q. Identify the structures labeled below:

A.
A. cranial articular fovea of C1
B. foramen magnum
C. occipital condyles